Каталог

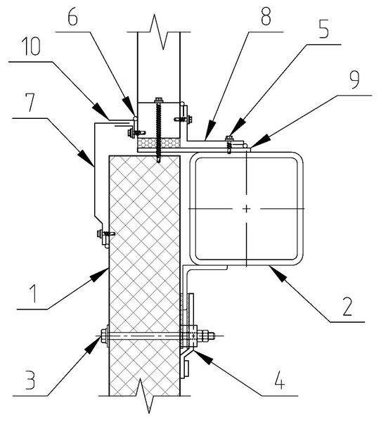
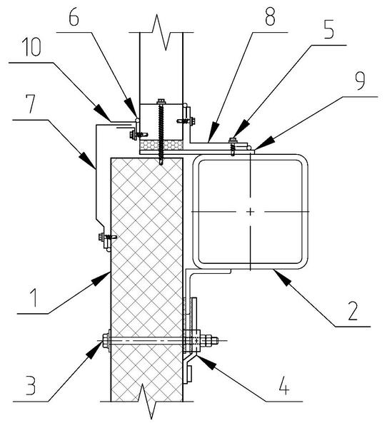
5.9.2 Низ оконного/дверного проёма

1 - Панель стеновая НЗСП
2 - Элемент каркаса
3 - Комплект деталей КД2 для крепления панелей к ригелям
4 - Опорная накладка МС2 для крепления панелей к ригелям
5 - Винт самонарезающий 4,8х19 (шаг 300мм)
6 - Герметик для наружных работ
7 - Фасонный элемент НФС6
8 - Фасонный элемент НФ34
9 - Пластина мет. (ПМ1), б=6мм, шаг 500мм
10 - Фасонный элемент НФ27

Рассчитайте стоимость и получите коммерческое предложение
Заполнить заявку