Каталог

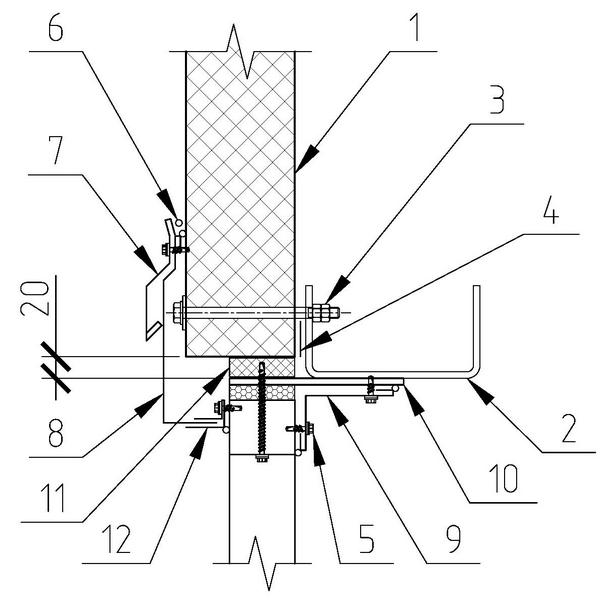
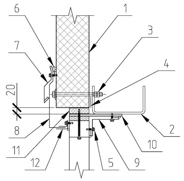
5.11 Верх оконного/дверного проёма

1 - Панель стеновая НЗСП
2 - Элемент каркаса
3 - Комплект деталей КД1 для крепления панелей к ригелям
4 - Лента самоклеящаяся уплотнительная
5 - Винт самонарезающий 4,8х19 (шаг 300мм)
6 - Герметик для наружных работ
7 - Фасонный элемент НФ30
8 - Фасонный элемент НФС6
9 - Фасонный элемент НФ34
10 - Пластина мет. (ПМ1), б=6мм, шаг 500мм
11 - Утеплитель (минвата)
12 - Фасонный элемент НФ27

Рассчитайте стоимость и получите коммерческое предложение
Заполнить заявку