Каталог

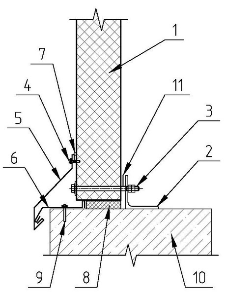
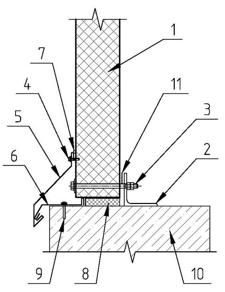
5.4 Цоколь. Двухъярусное и более расположение панелей

1 - Панель стеновая НЗСП
2 - Элемент каркаса
3 - Комплект деталей КД1 для крепления панелей к ригелям
4 - Винт самонарезающий 4,8х19 (шаг 300мм)
5 - Фасонный элемент НФ22
6 - Фасонный элемент НФ23
7 - Герметик для наружных работ
8 - Утеплитель (минвата)
9 - Дюбель-гвоздь 6х60 (шаг 500мм)
10 - Цоколь
11 - Лента самоклеящаяся уплотнительная

Рассчитайте стоимость и получите коммерческое предложение
Заполнить заявку