Каталог

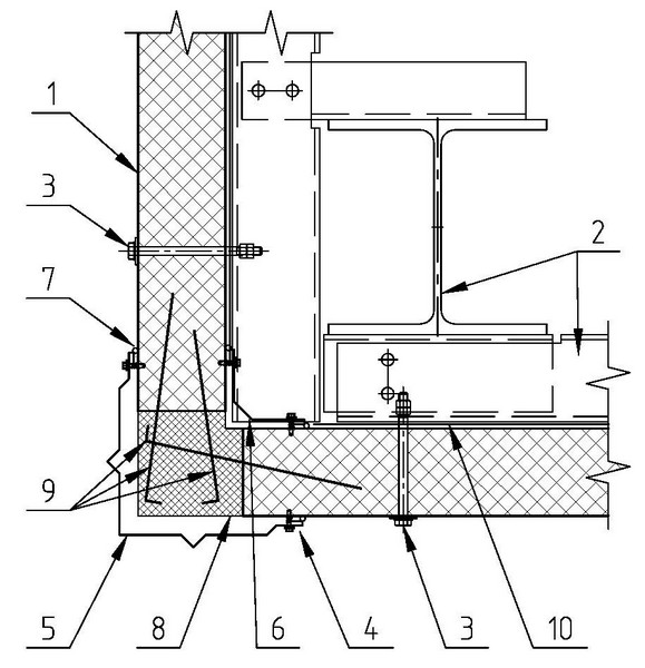
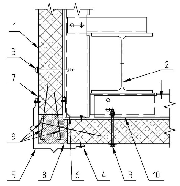
5.5 Наружный угол

1 - Панель стеновая НЗСП
2 - Элемент каркаса
3 - Комплект деталей КД1 для крепления панелей к ригелям
4 - Винт самонарезающий 4,8х19 (шаг 300мм)
5 - Фасонный элемент НФС1
6 - Фасонный элемент НФС2
7 - Герметик для наружных работ
8 - Утеплитель (минвата)
9 - Шпильки из стальной проволоки ? 4-5мм
10 - Лента самоклеящаяся уплотнительная

Рассчитайте стоимость и получите коммерческое предложение
Заполнить заявку