Каталог

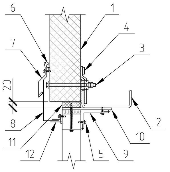
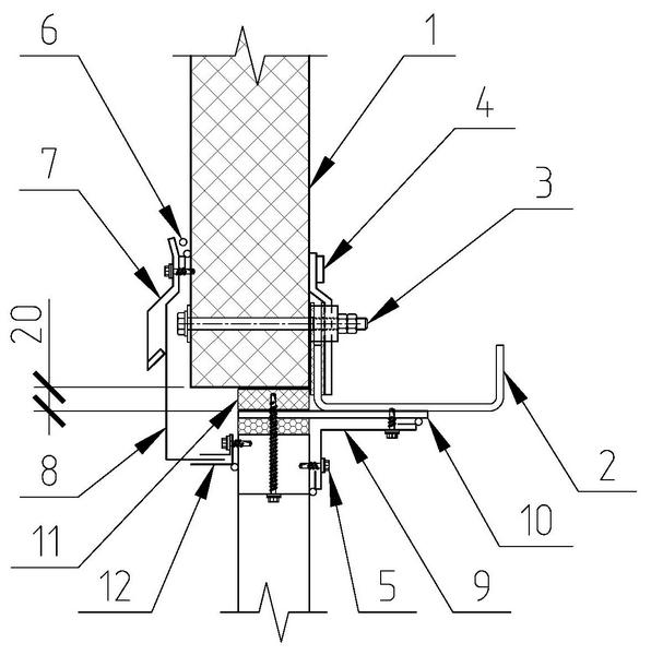
5.9.1 Верх оконного/дверного проёма в уровне горизонтального антисейсмического шва

1 - Панель стеновая НЗСП
2 - Элемент каркаса
3 - Комплект деталей КД2 для крепления панелей к ригелям
4 - Опорная накладка МС2 для крепления панелей к ригелям
5 - Винт самонарезающий 4,8х19 (шаг 300мм)
6 - Герметик для наружных работ
7 - Фасонный элемент НФ30
8 - Фасонный элемент НФС6
9 - Фасонный элемент НФ34
10 - Пластина мет. (ПМ1), б=6мм, шаг 500мм
11 - Утеплитель (минвата)
12 - Фасонный элемент НФ27

Рассчитайте стоимость и получите коммерческое предложение
Заполнить заявку