Каталог

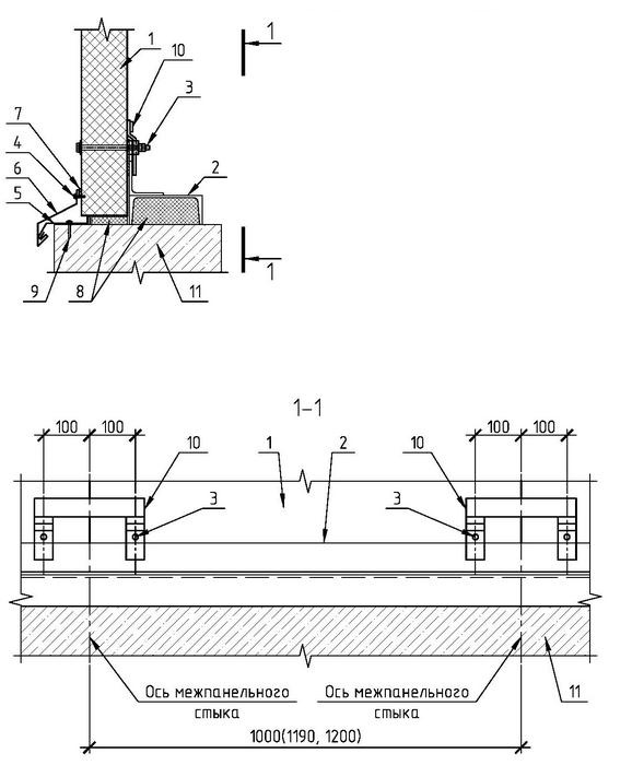
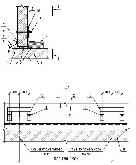
5.3 Цоколь. Одноярусное расположение панелей

1 - Панель стеновая НЗСП
2 - Ригель цокольный РЦ
3 - Комплект деталей КД2 для крепления панелей к ригелям
4 - Винт самонарезающий 4,8х19 (шаг 300мм)
5 - Фасонный элемент НФ22
6 - Фасонный элемент НФ23
7 - Герметик для наружных работ
8 - Утеплитель (минвата)
9 - Дюбель-гвоздь 6х60 (шаг 500мм)
10 - Опорная накладка МС2 для крепления панелей к ригелям
11 - Цоколь

Рассчитайте стоимость и получите коммерческое предложение
Заполнить заявку