Каталог

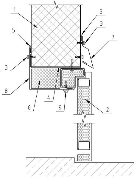
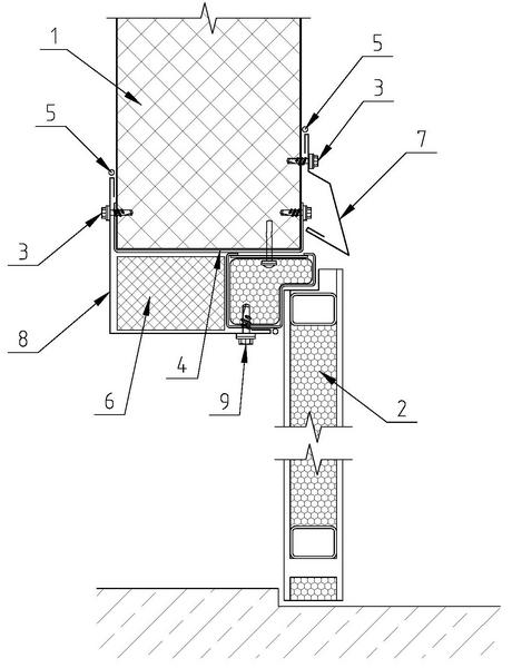
3.7.1 Монтаж металлической двери

1 - Панель стеновая НЗСП
2 - Полотно двери
3 - Винт самонарезающий 4,8х19 (шаг 300мм)
4 - Обрамление проёма ВШ
5 - Герметик для наружных работ
6 - Утеплитель (минвата)
7 - Фасонный элемент НФ35
8 - Фасонный элемент НФ36
9 - Винт самонарезающий 5,5х25