Каталог

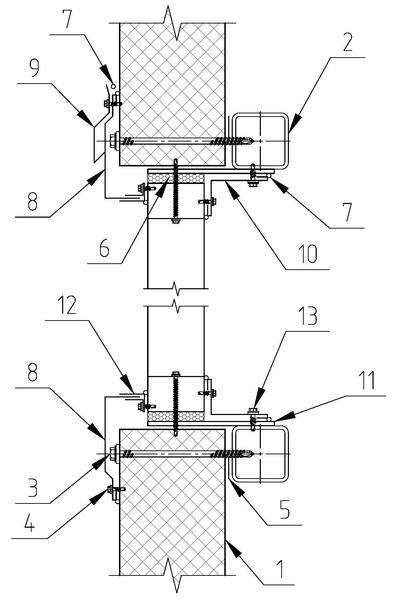
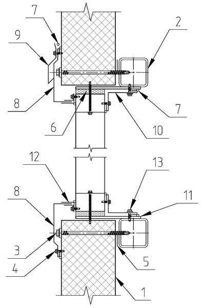
3.4.1 Оконные и дверные проёмы

1 - Панель стеновая НЗСП
2 - Элемент каркаса
3 - Шуруп саморез с шайбой
4 - Винт самонарезающий 4,8х19 (шаг 300мм)
5 - Лента самоклеящаяся уплотнительная
6 - Пена монтажная
7 - Герметик для наружных работ
8 - Фасонный элемент НФ28
9 - Фасонный элемент НФ30
10 - Фасонный элемент НФ34
11 - Пластина мет. (ПМ1), б=6мм, шаг 500мм
12 - Фасонный элемент НФ27
13 - Винт самонарезающий 5,5х2