Каталог

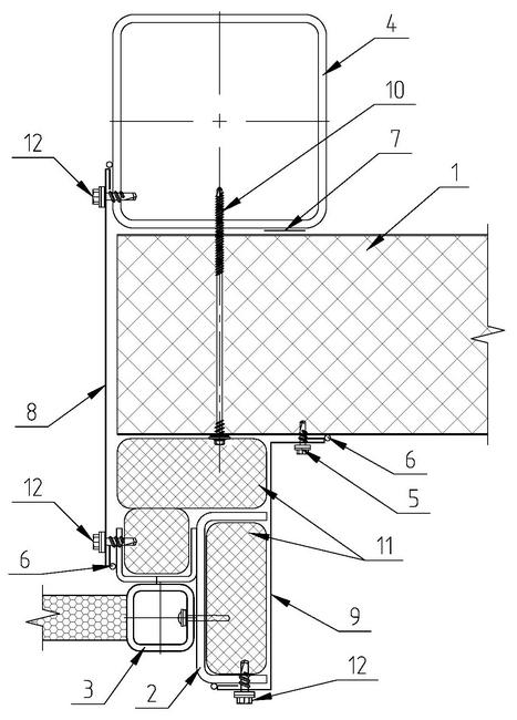
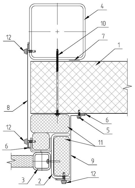
3.5.2 Обрамление ворот распашных

1 - Панель стеновая НЗСП
2 - Каркас рамы ворот
3 - Комплект распашных ворот
4 - Элемент каркаса
5 - Винт самонарезающий 4,8х19 (шаг 300мм)
6 - Герметик для наружных работ
7 - Лента самоклеящаяся уплотнительная
8 - Фасонный элемент НФ33
9 - Фасонный элемент НФ48
10 - Шуруп саморез с шайбой
11 - Утеплитель (минвата)
12 - Винт самонарезающий 5,5х25