Каталог

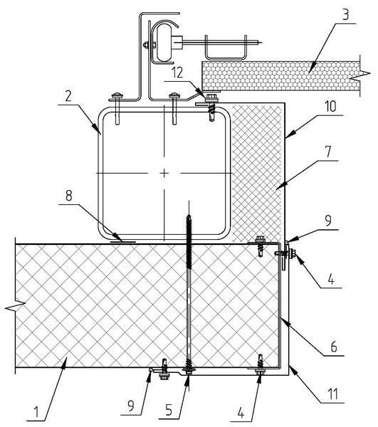
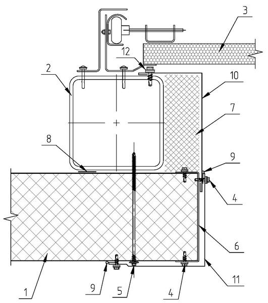
3.6.2 Обрамление ворот подъёмных

1 - Панель стеновая НЗСП
2 - Элемент каркаса
3 - Полотно ворот
4 - Винт самонарезающий 4,8х19 (шаг 300мм)
5 - Шуруп саморез с шайбой
6 - Обрамление проёма ВШ
7 - Утеплитель (минвата)
8 - Лента самоклеящаяся уплотнительная
9 - Герметик для наружных работ
10 - Фасонный элемент НФ36
11 - Фасонный элемент НФ49
12 - Винт самонарезающий 5,5х25