Каталог

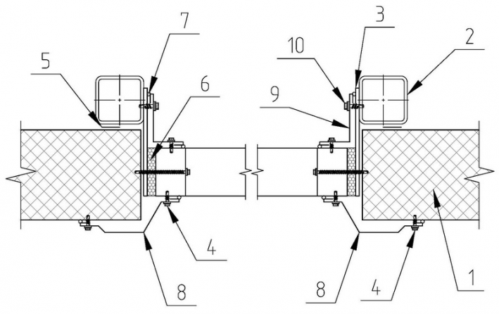
3.2.2 Оконные и дверные проёмы/вертикальная раскладка

1 - Панель стеновая НЗСП
2 - Элемент каркаса
3 - Пластина мет. (ПМ1), б=6мм, шаг 500мм
4 - Винт самонарезающий 4,8х19 (шаг 300мм)
5 - Лента самоклеящаяся уплотнительная
6 - Пена монтажная
7 - Герметик для наружных работ
8 - Фасонный элемент НФ29
9 - Фасонный элемент НФ34
10 - Винт самонарезающий 5,5х25