Каталог

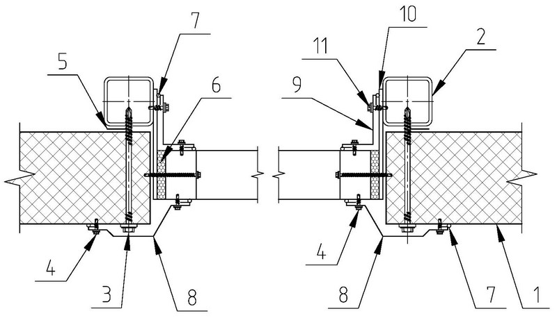
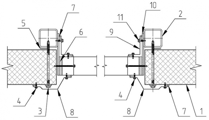
3.1.2 Оконные и дверные проёмы/горизонтальная раскладка

1 - Панель стеновая НЗСП
2 - Элемент каркаса
3 - Шуруп саморез с шайбой
4 - Винт самонарезающий 4,8х19 (шаг 300мм)
5 - Лента самоклеящаяся уплотнительная
6 - Пена монтажная
7 - Герметик для наружных работ
8 - Фасонный элемент НФ29
9 - Фасонный элемент НФ34
10 - Пластина мет. (ПМ1), б=6мм, шаг 500мм
11 - Винт самонарезающий 5,5х25