Каталог

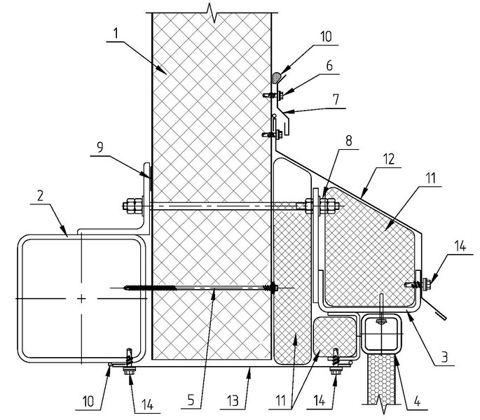
3.5.1 Обрамление ворот распашных

1 - Панель стеновая НЗСП
2 - Элемент каркаса
3 - Каркас рамы ворот
4 - Комплект распашных ворот
5 - Шуруп саморез с шайбой
6 - Винт самонарезающий 4,8х19 (шаг 300мм)
7 - Фасонный элемент НФ14
8 - Комплект элементов крепления рамы
9 - Лента самоклеящаяся уплотнительная
10 - Герметик для наружных работ
11 - Утеплитель (минвата)
12 - Фасонный элемент НФ31
13 - Фасонный элемент НФ33
14 - Винт самонарезающий 5,5х25