Каталог

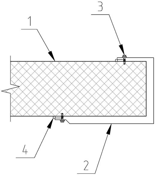
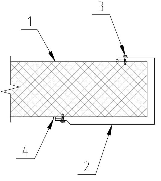
2.9 Торец парапета

1 - Панель стеновая НЗСП
2 - Фасонный элемент НФ47
3 - Винт самонарезающий 4,8х19 (шаг 300мм)
4 - Герметик для наружных работ