Каталог

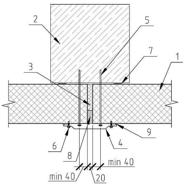
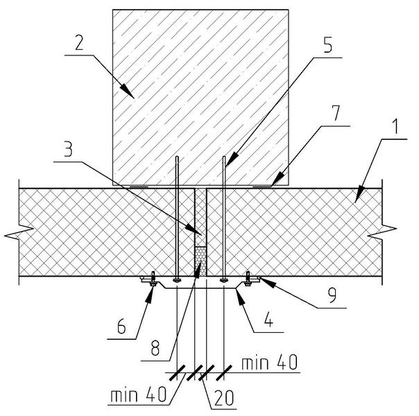
2.1.3 Стык стеновых панелей на ж/б колонне

1 - Панель стеновая НЗСП
2 - Железобетонная колонна
3 - Утеплитель (минвата)
4 - Фасонный элемент НФ20
5 - Шуруп по бетону
6 - Винт самонарезающий 4,8х19 (шаг 300мм)
7 - Лента самоклеящаяся уплотнительная
8 - Пена монтажная
9 - Герметик для наружных работ