Каталог

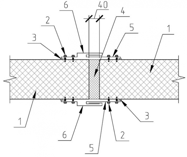
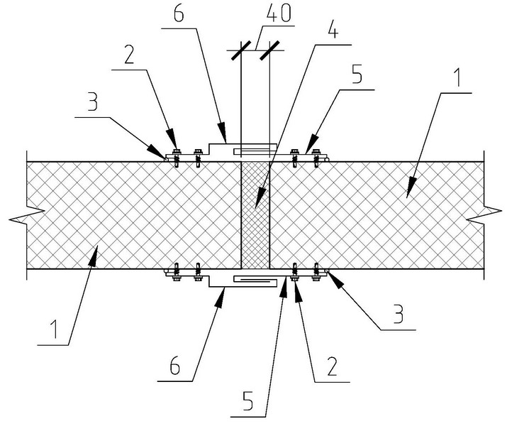
2.8 Деформационный шов

1 - Панель стеновая НЗСП
2 - Винт самонарезающий 4,8х19 (шаг 300мм)
3 - Герметик для наружных работ
4 - Утеплитель (минвата)
5 - Фасонный элемент НФ50
6 - Фасонный элемент НФ51