Каталог

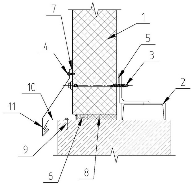
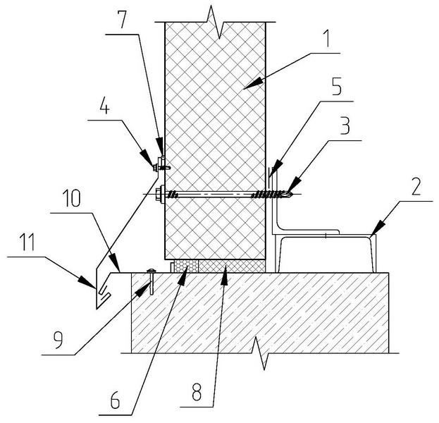
2.4.2 Цоколь/вертикальная раскладка

1 - Панель стеновая НЗСП
2 - Элемент каркаса
3 - Шуруп саморез с шайбой
4 - Винт самонарезающий 4,8х19 (шаг 300мм)
5 - Лента самоклеящаяся уплотнительная
6 - Пена монтажная
7 - Герметик для наружных работ
8 - Утеплитель (минвата)
9 - Дюбель-гвоздь 6х60 (шаг 500мм)
10 - Фасонный элемент НФ22
11 - Фасонный элемент НФ23