Каталог

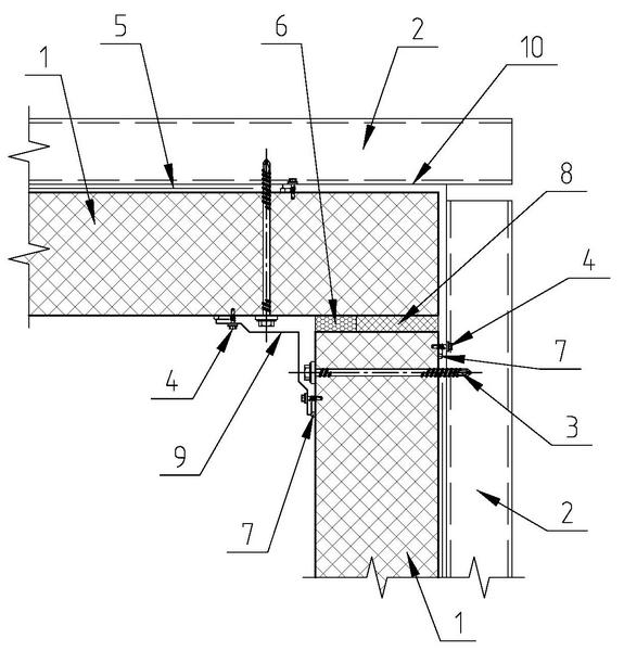
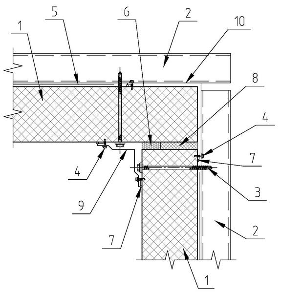
2.3.2 Внутренний угол/вертикальная раскладка

1 - Панель стеновая НЗСП
2 - Элемент каркаса
3 - Шуруп саморез с шайбой
4 - Винт самонарезающий 4,8х19 (шаг 300мм)
5 - Лента самоклеящаяся уплотнительная
6 - Пена монтажная
7 - Герметик для наружных работ
8 - Утеплитель (минвата)
9 - Фасонный элемент НФ44.1
10 - Фасонный элемент НФ25