Каталог

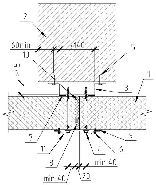
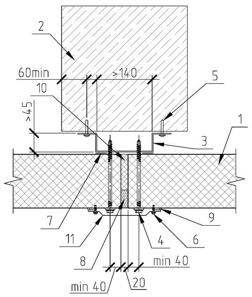
2.1.4 Стык стеновых панелей на ж/б колонне

1 - Панель стеновая НЗСП
2 - Железобетонная колонна
3 - Элемент каркаса
4 - Шуруп саморез с шайбой
5 - Дюбель-гвоздь (шаг 500мм)
6 - Винт самонарезающий 4,8х19 (шаг 300мм)
7 - Лента самоклеящаяся уплотнительная
8 - Пена монтажная
9 - Герметик для наружных работ
10 - Утеплитель (минвата)
11 - Фасонный элемент НФ20