Каталог

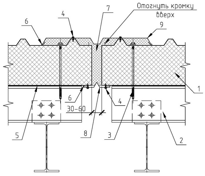
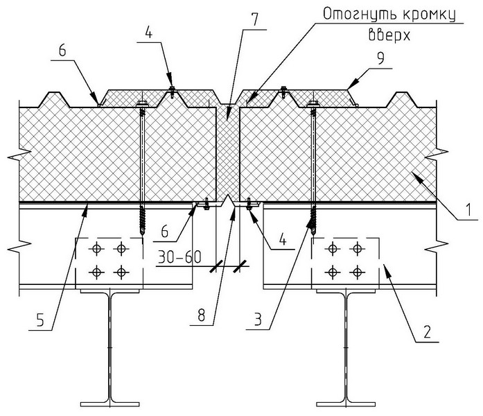
1.18 Деформационный шов

1 - Панель кровельная НЗСП
2 - Элемент каркаса
3 - Шуруп саморез с шайбой
4 - Винт самонарезающий 4,8х19 (шаг 300мм)
5 - Лента самоклеящаяся уплотнительная
6 - Герметик для наружных работ
7 - Утеплитель (минвата)
8 - Фасонный элемент НФ42
9 - Фасонный элемент НФ43

Рассчитайте стоимость и получите коммерческое предложение
Заполнить заявку