Каталог

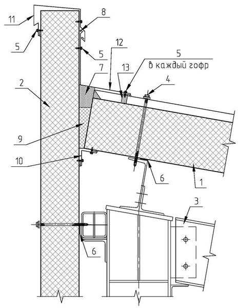
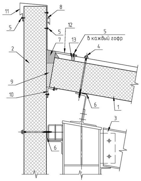
1.12.2 Парапет не более 600мм

1 - Панель кровельная НЗСП
2 - Панель стеновая НЗСП
3 - Элемент каркаса
4 - Шуруп саморез с шайбой (в каждый гофр)
5 - Винт самонарезающий 4,8х19 (шаг 300мм)
6 - Лента самоклеящаяся уплотнительная
7 - Пена монтажная
8 - Герметик для наружных работ
9 - Утеплитель (минвата)
10 - Фасонный элемент НФ3.2
11 - Фасонный элемент НФ11
12 - Фасонный элемент НФ13
13 - Уплотнитель профилеобразный (верхний)

Рассчитайте стоимость и получите коммерческое предложение
Заполнить заявку