Каталог

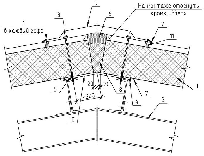
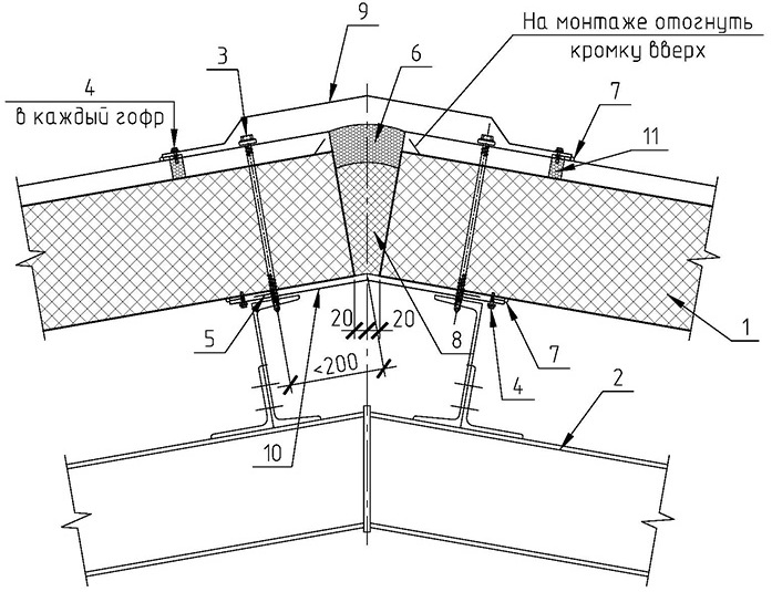
1.1.2 Конёк

1 - Панель кровельная НЗСП
2 - Элемент каркаса
3 - Шуруп саморез с шайбой (в каждый гофр)
4 - Винт самонарезающий 4,8х19 (шаг 300мм)
5 - Лента самоклеящаяся уплотнительная
6 - Пена монтажная
7 - Герметик для наружных работ
8 - Утеплитель (минвата)
9 - Фасонный элемент НФ1.1
10 - Фасонный элемент НФ39
11 - Уплотнитель профилеобразный (верхний)

Рассчитайте стоимость и получите коммерческое предложение
Заполнить заявку