Каталог

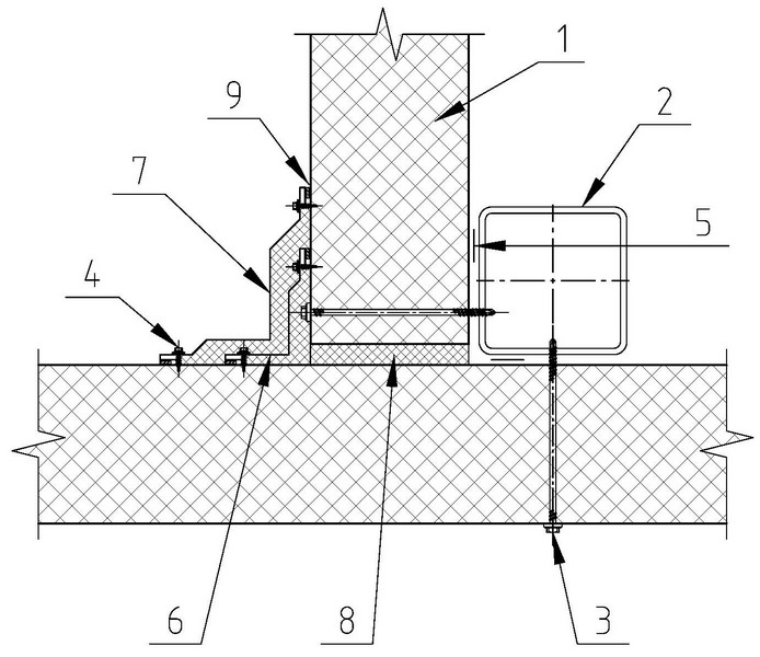
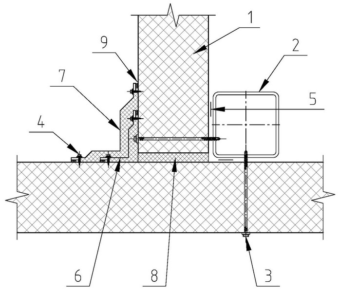
4.4.1 Угловой стык панелей

1 - Панель стеновая НЗСП
2 - Элемент каркаса
3 - Шуруп саморез с шайбой
4 - Винт самонарезающий 4,8х19 (шаг 300 мм)
5 - Лента самоклеящаяся уплотнительная
6 - Фасонный элемент НФОг-8
7 - Фасонный элемент НФОг-6
8 - Утеплитель (минвата)
9 - Герметик противопожарный