Каталог

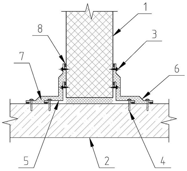
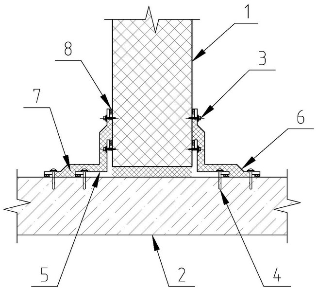
4.2 Примыкание стеновой панели к перекрытию

1 - Панель стеновая НЗСП
2 - Плита перекрытия
3 - Винт самонарезающий 4.8х19 (шаг 300 мм)
4 - Дюбель-гвоздь 6х60 (шаг 500мм)
5 - Фасонный элемент НФ3.1 (t=0,7мм)
6 - Фасонный элемент НФОг-9
7 - Утеплитель (минвата)
8 - Герметик противопожарны